Appendix N HPMS Field Manual
February 2002
	
	
	
	
APPENDIX N
Procedures for Estimating Highway Capacity
The procedures used in the HPMS software for determining highway capacity conform to the Highway Capacity Manual 2000 (HCM 2000). The capacity calculations are based on service flow rates for level of service E and are for the peak direction. The capacity coded in HPMS is used for system planning analysis, not project level analysis. The number of peak lanes (number of through lanes used in the peak period in the peak direction) coded in HPMS (Item 87) is used in the procedures for determining capacity. The number of through lanes coded in HPMS (Item 34) is used in the procedures to determine the number of lanes on the facility. The equations for determining the volume/service flow ratio (V/SF) are shown at the end of this Appendix along with tables that contain the data items used in the capacity calculations and in the V/SF ratio.
All references to chapters, tables, etc., are to the HCM. All calculations and values in the Appendix are in English units; i.e., miles per hour (mph), feet, miles, etc. The assumptions made by FHWA for adjustment factors used in the procedures are consistent with the recommended values in the HCM. The reference to the data item value in the procedures indicates the way the data item is coded in the HPMS.
Hierarchy Of Application For Capacity Procedures
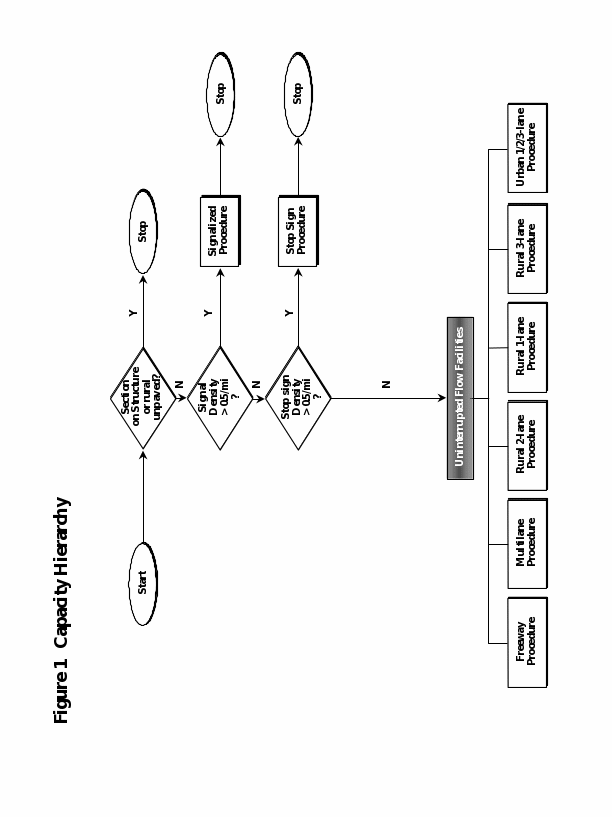
Figure 1 presents the decision rules for applying the methodologies of measuring capacity for highway sections. The logic is based on first identifying if the section is on a structure or is a rural unpaved road; and second if it is characterized by “interrupted flow;” that is, a section where traffic is influenced by traffic control devices (signals and stop signs).
If the traffic control device density is below the thresholds (0.5 signals or stop signs per mile), the facility is assumed to be an uninterrupted flow facility. For these, the following definitions apply.
Freeways (Urban and Rural)
For HPMS, the design characteristics, not the functional classification, determine if a section is a freeway (“freeway by design”). The characteristics of a freeway are:
Four or more through lanes with two-way flow (Data Item 34 >= 4 and Data Item 27 = 2) OR two or more through lanes and one-way flow (Data Item 34 >= 2 and Data Item 27 = 1)
Divided Cross-Section – for sections with two-way traffic flow, median width >= 4 feet (Data Item 57) or with a “positive” or “curbed” barrier (Data Item 56 = 1 or 2) (not applicable for one-way sections) and
Full Control of Access (Data Item 55 = 1)
Multilane Highways (Urban and Rural)
The main characteristic distinguishing these facilities from freeways is the lack of access control. They are defined by:
Partial or no access control (Data Item 55 = 2 or 3) with a Divided Cross-Section (see above under “Freeways”) OR Full Access Control and Undivided Cross-Section; and
4 or more through lanes and two-way operation (Data Item 34 >= 4 and Data Item 27 = 2) OR 2 or more through lanes and one-way operation (Data Item 34 = 2 or 3 and Data Item 27 = 1)
Rural Two-Lane Highways
All rural sections that have two through lanes of travel and two-way operation are covered by this method. Most of these sections will not have full access control, though this condition does exist in the HPMS data.
Rural One-Lane, One-Way Highways
This is a rare condition in HPMS, but it does exist.
Rural Three-Lane Highways
These are highways with two through lanes in one direction and one through lane in the opposite direction.
Urban One/Two/Three-Lane Highways
These are highway sections in urban areas that do not meet the traffic control device density requirement for either signals or stop signs. They can either have one-way or two-way traffic flow, as follows:
One-Way, One-Lane Highways: Data Item 34 = 1 and Data Item 27 = 1;
Two-Way, 2/3-Lane Highways: Data Item 34 = (2 or 3) and Data Item 27 = 2; and
Two-Way, One-Lane Highways: Data Item 34 = 2 and Data Item 27 = 1. This is an unusual occurrence but some states code unstriped highways in this manner. For HPMS, it is assumed that these are in fact two-lane highways.
F 
  
igure
1.  Capacity Hierarchy
Freeway Capacity
All highways (rural and urban) that are “freeway by design” use the following procedures. These are facilities with:
Four or more through lanes with two-way flow (Data Item 34 >= 4 and Data Item 27 = 2) OR two or more through lanes and one-way flow (Data Item 34 >= 2 and Data Item 27 = 1)
Divided Highways – median width >= 4 feet (Data Item 57) or with a “positive” or “curbed” barrier (Data Item 56 = 1 or 2)
Access-Controlled Highways (Data Item 55 = 1)
Step 1: Calculate Free Flow Speed (FFS)
The first step in the procedure is to estimate free flow speed (FFS) of the facility. HCM Equation 23-1 is applied directly:
FFS = BFFS – fLW - fLC – fN - fID (1)
Where:
BFFS = base free flow speed
fLW = adjustment factor for lane width
fLC = adjustment factor for right shoulder lateral clearance
fN = adjustment factor for number of lanes
fID = adjustment factor for interchange density
Base Free Flow Speed
BFFS is set at 70 mph for urban facilities and 75 mph for rural facilities.
Adjustment Factor for Lane Width (fLW)
The values from HCM Exhibit 23-4 are used and are directly based on the values of Data Item 54:
Lane Width Reduction in FFS (mph; fLW)
12 ft. 0.0
11 ft. 1.9
<=10 ft. 6.6
Adjustment Factor for Right Shoulder Lateral Clearance (fLC)
The values from HCM Exhibit 23-5 (shown as Table 1 here) are used and based directly on the values of Data Item 59. The number of lanes in one direction are computed by halving Data Item 34 for two-way facilities or by using Data Item 34 directly for one-way facilities:
Table 1. Influence of Right Shoulder Widths on FFS
| 
				Right
				 | Reduction in FFS (mph; fLC) | |||
| Lanes in One Direction | ||||
| 2 | 3 | 4 | >=5 | |
| >=6 | 0.0 | 0.0 | 0.0 | 0.0 | 
| 5 | 0.6 | 0.4 | 0.2 | 0.1 | 
| 4 | 1.2 | 0.8 | 0.4 | 0.2 | 
| 3 | 1.8 | 1.2 | 0.6 | 0.3 | 
| 2 | 2.4 | 1.6 | 0.8 | 0.4 | 
| 1 | 3.0 | 2.0 | 1.0 | 0.5 | 
| 0 | 3.6 | 2.4 | 1.2 | 0.6 | 
Adjustment Factor for Number of Lanes (fN)
The values from HCM Exhibit 23-6 are used and based on the number of lanes in one direction. For two-way operation, the number of lanes in one direction is Data Item 34 divided by 2; for one-way facilities the value of Data Item 34 is used directly. The adjustment is made for urban freeways only; for rural facilities fN is set to 0:
No. Lanes (One Direction;
Urban Only) Reduction in FFS (mph; fN)
>= 5 0.0
1.5
3 3.0
4.5
Adjustment Factor for Interchange Density (fID)
The number of interchanges is no longer available in HPMS. Therefore, an analysis of 1998 HPMS data was done to determine average interchange densities as a function of functional class and area size (Data Item 13, Rural/Urban Designation). For rural sections, interchange density is assumed not to influence free flow speed. The factor is based on the average interchange densities, as found in the 1998 HPMS data, and linear interpolation of the information in HCM Exhibit 23-7.
Table 2. Influence of Interchange Density on FFS
| Functional Class | Area Size | Interchange Density | Interchange Adj. Factor, (fID) | 
| Urban Interstates | Small Urban | 0.70 | 1.0 | 
| 
				 | Small Urbanized | 0.76 | 1.3 | 
| 
				 | Large Urbanized | 0.83 | 1.7 | 
| Other Urban Highways Qualifying as Freeways | Small Urban | 0.83 | 1.7 | 
| 
				 | Small Urbanized | 0.88 | 1.9 | 
| 
				 | Large Urbanized | 0.91 | 2.1 | 
Step 2: Calculate Base Capacity (BaseCap)
The Base Capacity (passenger cars per hour per lane; pcphpl) of a freeway facility is based on information found in HCM Exhibit 23-3. The following equations were developed based on this information:
BaseCap = 1,700 + 10FFS; for FFS <= 70 (2)
BaseCap = 2,400; for FFS > 70
Step 3: Determine Peak Capacity (PeakCap)
The HCM 2000 procedure does not make adjustments to the Base Capacity in order to calculate level of service and performance measures. Instead, adjustments are made to the hourly demand volume. However, for HPMS, the capacity of the segment, in terms of total vehicles per hour (vph), must be computed for a variety of analytic purposes. Therefore, the same factors used in the HCM 2000 to adjust volume are used to adjust base capacity instead. Essentially, these adjustments convert the units from passenger cars to vehicles and lower capacity to account for the effect of heavy vehicles. The procedure is based on HCM Equation 23-2:
PeakCap = BaseCap * PHF * N * fHV * fp (3)
Where:
PeakCap = HPMS Peak Capacity (Data Item 95), vehicles per hour (all lanes, one direction)
PHF = Peak Hour Factor
N = Number of lanes in one direction
= Number of Peak Lanes (Data Item 87)
fHV = Adjustment factor for heavy vehicles
fp = Adjustment factor for driver population
Peak Hour Factor (PHF)
The Peak Hour Factor is used to account for variations in flow within the peak hour. The HCM 2000 recommends defaults of 0.92 for urban facilities and 0.88 for rural facilities (Chapter 13). It also states that congested facilities have larger values (0.95 is “typical”) than uncongested (unsaturated) ones. Clearly, these factors can have a large impact on capacity. However, determining if an HPMS section is congested is in fact a function of first determining its capacity. Therefore, an iterative process is used:
Set PHF in Equation 3 equal to 1.0; compute peak capacity
Determine an initial volume-to-capacity ratio (V/C), where:
V = AADT * K-Factor * D-Factor (Data Items 33, 85, and 86, respectively, where the K- and D-factors are expressed as decimals)
C = Peak Capacity
Assign a final PHF as follows:
Table 3. PHF Assignment
| Area Type | V/C Ratio | PHF | 
| Rural | < 0.7744 | 0.88 | 
| 
				 | 0.7744<=V/C<=0.9025 | Equation (4) | 
| 
				 | > 0.9025 | 0.95 | 
| Urban | < 0.8100 | 0.90 | 
| 
				 | 0.8100<=V/C<=0.9025 | Equation (4) | 
| 
				 | > 0.9025 | 0.95 | 
Where: PHF = (0.9025 * V/C)0.5/0.95 for special cases above (4)
Adjustment Factor for Heavy Vehicles (fHV)
The adjustment factor for heavy vehicles is based on calculating passenger-car equivalents for trucks and buses. (Recreational vehicles are ignored.) HCM Equation 23-3 and Exhibit 23-8 are used:
fHV = 1
1 + PT(ET – 1) (5)
Where:
PT = Proportion of trucks and buses in the traffic stream, expressed as a decimal (e.g., 0.15 for 15%)
= (Percent Peak Combination Trucks, Data Item 83 + Percent Peak Single Unit Trucks, Data Item 81)
ET = Passenger-car equivalents
= 1.5 for all urban freeways
= 1.5 for rural freeways in level terrain (Data Item 70 = 1)
= 2.5 for rural freeways in rolling terrain (Data Item 70 = 2)
= 4.5 for rural freeways in mountainous terrain (Data Item 70 = 3)
Adjustment Factor for Driver Population (fp)
For Urban Freeways, the driver population factor is set to 1.0 to indicate that drivers are familiar with roadway and traffic conditions (by virtue of the fact that most of the traffic is composed of commuters). On Rural Freeways, the factor is set to 0.975.
Multilane Highway Capacity
The following procedures are applied to rural and urban multilane highways with the following characteristics:
Partial or no access control (Data Item 55 = 2 or 3) with a Divided Cross-Section (see above under “Freeways”) OR Full Access Control and Undivided Cross-Section; and
4 or more through lanes and two-way operation (Data Item 34 >= 4 and Data Item 27 = 2 ) OR 2-3 through lanes and one-way operation (Data Item 34 = 2 or 3 and Data Item 27 = 1.
Step 1: Calculate Free Flow Speed (FFS)
The first step in the procedure is to estimate free flow speed (FFS) of the facility. HCM Equation 21-1 is applied directly:
FFS = BFFS – fLW - fLC – fM – fA (6)
Where:
BFFS = base free flow speed
fLW = adjustment factor for lane width
fLC = adjustment factor for lateral clearance
fM = adjustment factor for median type
fA = adjustment factor for access points
Base Free Flow Speed
Base Free Flow Speed is based on the coded speed limit (Data Item 80) and guidance from the HCM 2000. To be consistent with the HCM 2000 methodology, the BFFS is not allowed to go below 40 mph or above 70 mph. This conflicts with guidance in the HCM 2000 which states that the methodology is valid for free flow speeds between 45 mph and 60 mph. However, the HCM 2000 methodology is geared to estimating performance characteristics, not capacity; for the purpose of capacity, these restrictions were relaxed.
BFFS = 40 mph, for posted speed limits < 40 mph (7)
= SpeedLimit + 7, for posted speed limits 40-45 mph
= SpeedLimit + 5, for posted speed limits >= 50 mph
Where: SpeedLimit is the value for Data Item 80.
Adjustment Factor for Lane Width (fLW)
The values from HCM Exhibit 21-4 are used and directly based on the values of Data Item 54:
Lane Width Reduction in FFS (mph; fLW)
12 ft. 0.0
11 ft. 1.9
<=10 ft. 6.6
Adjustment Factor for Lateral Clearance (fLC)
The values from HCM Exhibit 21-5 are used and based on computing Total Lateral Clearance (TLC) using right and left shoulder widths. Lateral Clearance Left (LCL) is computed for divided highways only (Data Item 57 >= 4 or Data Item 56 = 1 or Data Item 56 = 2). In all other cases, such as if a continuous two-way left turn lane exists (Data Item 88 = 2) or the facility is undivided, then LCL is set to 6. (The median type adjustment factor accounts for the fact that the roadway is undivided.) Facilities with one-way traffic operation are considered divided highways since there is no opposing flow to interfere with traffic. For one-way facilities, left shoulder width is not coded. Therefore, a value of 6 is assumed for one-way facilities.
TLC = LCR + LCL (8)
Where:
LCR = Data Item 59, maximum value of 6
LCL = Data Item 60, maximum value of 6
Once TLC is computed, the values in HCM Exhibit 21-5 are used. Linear interpolation is used for intermediate values:
Table 4. Adjustment for Lateral Clearance
| 4-Lane Two-Way Highways and 2-Lane One-way Highways | 6+Lane Two-Way Highways and 3+Lane One-Way Highways | ||
| Total Lateral Clearance | Reduction in FFS | Total Lateral Clearance | Reduction in FFS | 
| 12 | 0.0 | 12 | 0.0 | 
| 10 | 0.4 | 10 | 0.4 | 
| 8 | 0.9 | 8 | 0.9 | 
| 6 | 1.3 | 6 | 1.3 | 
| 4 | 1.8 | 4 | 1.7 | 
| 2 | 3.6 | 2 | 2.8 | 
| 0 | 5.4 | 0 | 3.9 | 
Adjustment Factor for Median Type (fM)
The values from HCM Exhibit 21-6 are used and based on whether the facility is divided or undivided. (See definition under Lateral Clearance Adjustment).
Highway Type Reduction in FFS (mph; fM)
Undivided 1.6
Divided (including TWLTLs1) 0.0
Adjustment Factor for Access Points (fA)
The number of access points per mile is based directly on the values of the number of at-grade intersections with no traffic control devices (Data Item 94) and section length (Data Item 30). In addition, default values for driveways per mile are also assumed. A linear equation was fit to the data in HCM Exhibit 21-7 and produces:
fA = MIN((0.25*AccessPointDensity), 10) (9)
Where:
AccessPointDensity = (Data Item 94/Data Item 30) + DrivewayDensity
DrivewayDensity = 2 for divided highways
= 3 for undivided highways
Step 2: Calculate Base Capacity (BaseCap)
The Base Capacity (passenger cars per hour per lane; pcphpl) of a multilane facility is based on information found in HCM Exhibit 21-3. The following equations were developed based on this information:
BaseCap = 1,000 + 20FFS; for FFS <= 60 (10)
BaseCap = 2,200; for FFS > 60
Step 3: Determine Peak Capacity (PeakCap)
The HCM 2000 procedure does not make adjustments to the Base Capacity in order to calculate level of service and performance measures. Instead, adjustments are made to the hourly demand volume. However, for HPMS, the capacity of the section, in terms of total vehicles per hour (vph), must be computed for a variety of analytic purposes. Therefore, the same factors used in the HCM 2000 to adjust volume are used to adjust base capacity. Essentially, these adjustments convert the units from passenger cars to vehicles and lower capacity to account for the effect of heavy vehicles. The procedure is based on HCM Equation 21-3:
PeakCap = BaseCap * PHF * N * fHV * fp (11)
Where:
PeakCap = HPMS Peak Capacity (Data Item 95), vehicles per hour (all lanes, one direction)
PHF = Peak Hour Factor
N = Number of lanes in one direction
= Number of Peak Lanes (Data Item 87)
fHV = Adjustment factor for heavy vehicles
fp = Adjustment factor for driver population
= 1.0 for HPMS
Peak Hour Factor (PHF)
The Peak Hour Factor is used to account for variations in flow within the peak hour. The HCM 2000 recommends defaults of 0.92 for urban facilities and 0.88 for rural facilities (Chapter 13). It also states that congested facilities have larger values (0.95 is “typical”) than uncongested (unsaturated) ones. Clearly, these factors can have a large impact on capacity. However, determining if an HPMS section is congested is in fact a function of first determining its capacity. Therefore, an iterative process is used:
Set PHF in Equation 6 equal to 1.0; compute peak capacity
Determine an initial volume-to-capacity ratio (V/C), where:
V = AADT * K-Factor * D-Factor (Data Items 33, 85, and 86, respectively)
C = Peak Capacity
Assign a final PHF as follows:
Table 5. Final PHF Assignment
| Area Type | V/C Ratio | PHF | 
| Rural | < 0.7744 | 0.88 | 
| 
				 | 0.7744<=V/C<=0.9025 | Equation (12) | 
| 
				 | > 0.9025 | 0.95 | 
| Urban | < 0.8100 | 0.90 | 
| 
				 | 0.8100<=V/C<=0.9025 | Equation (12) | 
| 
				 | > 0.9025 | 0.95 | 
Where: PHF = (0.9025 * V/C)0.5/0.95 for special cases above (12)
Adjustment Factor for Heavy Vehicles (fHV)
The adjustment factor for heavy vehicles is based on calculating passenger-car equivalents for trucks and buses. (Recreational vehicles are ignored.) HCM Equation 23-3 and Exhibit 23-8 are used:
fHV = 1
1 + PT(ET – 1) (13)
Where:
PT = Proportion of trucks and buses in the traffic stream, expressed as a decimal (e.g., 0.15 for 15%)
= (Percent Peak Combination Trucks {Data Item 83}) + (Percent Peak Single Unit Trucks {Data Item 81})
ET = Passenger-car equivalents
= 1.5 for all urban highways
= 1.5 for rural highways in level terrain (Data Item 70 = 1)
= 2.5 for rural highways in rolling terrain (Data Item 70 = 2)
= 4.5 for rural highways in mountainous terrain (Data Item 70 = 3)
Rural Two-Lane Capacity
In the HCM 2000, capacity is taken as a value that “… is nearly independent of the directional distribution of traffic on a facility, except that for extended lengths of a two-lane highway, the capacity will not exceed 3,200 pc/h for both directions of travel combined.” The purpose of the HCM 2000 procedure is to develop two primary performance measures: average travel speed (ATS) and percent time-spent-following. In computing the ATS, v/c ratio, or other performance measures, adjustments are made to volume while the capacity remains fixed at 3,200 passenger cars per hour (pch).
For HPMS, the procedure for estimating ATS is the better of the two for estimating capacity. Equation 20-5 in the HCM 2000 relates ATS to FFS, adjusted flow rate, and the no passing zone factor:
ATS = FFS – 0.00776VP – fnp (14)
Where:
ATS = Average travel speed
VP = passenger car equivalent flow rate for peak 15-minutes
fnp = no passing zone adjustment factor from Table 20-11
FFS is developed from a base (ideal) free flow speed and a flow speed adjusted for lane width, shoulder width, and access points. Vp is the two-way hourly volume adjusted for peak 15-minute flows, grades, and heavy vehicles. These concepts are different from previous versions of the HCM where adjustments were made to capacity. However, for use in HPMS and its applications, estimates of capacity are needed. Therefore, the procedure used here is based on adjusting the base capacity for the factors related to VP and fnp. The adjustments for FFS are not applied to capacity. This avoids double counting when speed and delay methodologies other than those in the HCM 2000 are applied. (These methods usually relate performance measures directly to volume and capacity.)
All rural sections that have partial or no access control and two through lanes of travel and two-way operation are covered by this method.
For HPMS purposes estimates of capacity are still needed. Therefore, instead of adjusting flow rates, (volumes) capacity will be adjusted by most of the same factors:
Two-Way Capacity = (3,200 pch * PHF * fG * fHV) - VNP (15)
Where:
PHF = Peak Hour Factor
= 0.88
fG = Adjustment factor for grades
fHV = Adjustment factor for heavy vehicles
VNP = Volume adjustment for no passing zones
Grade Adjustment Factor (fG)
HCM Exhibit 20-7 offers values for fG but only for level and rolling terrain; it is assumed that the steep grades associated with mountainous terrain will be analyzed individually. For HPMS, this is impractical since a section can have multiple grades: determining an average grade may underestimate the impact while selecting the most severe grade may overestimate the impact. As a compromise, fG values for grades in the 5.5 – 6.5 percent range with a length of 0.5 miles are assumed for mountainous terrain and HCM Exhibit 20-13 is used. This results in the factors presented in Table 6. The two-way flow rates in Table 6 are based on adjusting the HPMS AADT value to peak passenger cars and is computed as:
Two-Way Flow Rate = (AADT * K)/fHVD (16)
Where:
AADT = Data Item 33
K = Data Item 85, expressed as a decimal
fHVD = Daily heavy vehicle adjustment factor
= 1/(1 + 0.5PT)
PT = Percentage of daily trucks
= (Data Item 82 + Data Item 84) * 0.01
Table 6. Grade Adjustment Factors (fG) for HPMS
| Two-Way Flow Rates | 
				 | 
				 | 
				 | 
| (pch) | Level | Rolling | Mountainous | 
| 0-600 | 1.00 | 0.71 | 0.57 | 
| >600-1,200 | 1.00 | 0.93 | 0.85 | 
| >1,200 | 1.00 | 0.99 | 0.99 | 
Adjustment for Heavy Vehicles (fHV)
The HCM 2000 presents two ways of computing passenger car equivalents (pce’s) for heavy trucks: one for computing ATS and one for computing percent time-spent-following. For capacity purposes, ATS is considered to be more appropriate. (Percent time-spent-following is more descriptive of driver experience than of physical capacity.) As with grades, mountainous sections are excluded from the default values in the HCM 2000. Therefore, for default purposes, pce’s for trucks (ET) is also taken for grades of 5.5 – 6.5 percent and a length of 0.5 miles using HCM Exhibit 20-15. This results in the values in Table 7.
Table 7. Passenger Car Equivalents for Trucks (ET)
| Two-Way Flow Rates | Type of Terrain | ||
| (pch) | Level | Rolling | Mountainous | 
| 0-600 | 1.7 | 2.5 | 7.2 | 
| >600-1,200 | 1.2 | 1.9 | 7.2 | 
| >1,200 | 1.1 | 1.5 | 7.2 | 
Once ET is found, the adjustment factor for heavy vehicles is computed as:
fHV = 1
1 + PT(ET – 1) (17)
Where:
PT = proportion of trucks (combinations plus single units) from HPMS, expressed as a decimal
= (Percent Peak Combination Trucks, Data Item 83 + Percent Peak Single Unit Trucks, Data Item 81)
ET = Passenger car equivalents from Table 7.
Note that recreational vehicles are included with single unit trucks in HPMS.
Peak Hour Factor (PHF)
The PHF represents the variation in traffic flow within an hour. A default value of 0.88 should be used for rural two-lane highways.
Adjustment for Percentage of No-Passing Zones (VNP)
This adjustment is used in the HCM 2000 procedure to compute ATS rather than adjusting flow rate. In Equation 1, fnp can be equilibrated to volume simply by dividing by 0.00776. For example, an fnp of 2.0 translates to 258 passenger cars. For HPMS, this adjustment can also be made to capacity since it too is in terms of passenger cars:
VNP = fNP/0.00776 (18)
Where:
fNP = values from HCM Exhibit 20-11 (given here as Table 8)
HCM Exhibit 20-11 should be entered using values for Two-Way Flow Rate (Equation 18). HCM Exhibit 20-11 also requires “% No Passing Zones”. This computes as:
% No Passing Zones = 1 – (Data Item 78 * 0.01) (19)
Table 8. Adjustment (fnp) for Effect of No-Passing Zones on Average Travel Speed on Two-Way Segments
| Two-Way Demand | 
				Reduction
				in Average Travel Speed (mi/h) | ||||||||||
| Flow Rate, vp(pc/h) | 0 | 10 | 20 | 30 | 40 | 50 | 60 | 70 | 80 | 90 | 100 | 
| 0-100 | 0.0 | 0.0 | 0.0 | 0.0 | 0.0 | 0.0 | 0.0 | 0.0 | 0.0 | 0.0 | 0.0 | 
| 101-300 | 0.0 | 0.3 | 0.6 | 1.0 | 1.4 | 1.9 | 2.4 | 2.5 | 2.6 | 3.1 | 3.5 | 
| 301-500 | 0.0 | 0.9 | 1.7 | 2.2 | 2.7 | 3.1 | 3.5 | 3.7 | 3.9 | 4.2 | 4.5 | 
| 501-700 | 0.0 | 0.8 | 1.6 | 2.0 | 2.4 | 2.7 | 3.0 | 3.2 | 3.4 | 3.7 | 3.9 | 
| 701-900 | 0.0 | 0.7 | 1.4 | 1.7 | 1.9 | 2.2 | 2.4 | 2.6 | 2.7 | 2.9 | 3.0 | 
| 901-1,100 | 0.0 | 0.6 | 1.1 | 1.4 | 1.6 | 1.8 | 2.0 | 2.1 | 2.2 | 2.4 | 2.6 | 
| 1,101-1,300 | 0.0 | 0.4 | 0.8 | 1.0 | 1.2 | 1.4 | 1.6 | 1.8 | 1.9 | 2.0 | 2.1 | 
| 1,301-1,500 | 0.0 | 0.3 | 0.6 | 0.8 | 0.9 | 1.1 | 1.2 | 1.3 | 1.4 | 1.6 | 1.7 | 
| 1,501-1,700 | 0.0 | 0.3 | 0.6 | 0.7 | 0.8 | 1.0 | 1.1 | 1.2 | 1.3 | 1.4 | 1.5 | 
| 1,701-1,900 | 0.0 | 0.3 | 0.5 | 0.6 | 0.7 | 0.9 | 1.0 | 1.1 | 1.1 | 1.2 | 1.3 | 
| 1,901-2,100 | 0.0 | 0.3 | 0.5 | 0.6 | 0.6 | 0.8 | 0.9 | 1.0 | 1.0 | 1.1 | 1.1 | 
| 2,101-2,300 | 0.0 | 0.3 | 0.5 | 0.6 | 0.6 | 0.8 | 0.9 | 0.9 | 0.9 | 1.0 | 1.1 | 
| 2,301-2,500 | 0.0 | 0.3 | 0.5 | 0.6 | 0.6 | 0.7 | 0.8 | 0.9 | 0.9 | 1.0 | 1.1 | 
| 2,501-2,700 | 0.0 | 0.3 | 0.5 | 0.6 | 0.6 | 0.7 | 0.8 | 0.9 | 0.9 | 1.0 | 1.0 | 
| 2,701-2,900 | 0.0 | 0.3 | 0.5 | 0.6 | 0.6 | 0.7 | 0.7 | 0.8 | 0.8 | 0.9 | 0.9 | 
| 2,901-3,100 | 0.0 | 0.3 | 0.5 | 0.6 | 0.6 | 0.7 | 0.7 | 0.7 | 0.7 | 0.8 | 0.8 | 
| 3,101-3,300 | 0.0 | 0.3 | 0.5 | 0.6 | 0.6 | 0.6 | 0.6 | 0.6 | 0.6 | 0.7 | 0.7 | 
| >3,300 | 0.0 | 0.3 | 0.5 | 0.5 | 0.5 | 0.5 | 0.5 | 0.5 | 0.5 | 0.5 | 0.5 | 
| 
				 | 
				 | 
				 | 
				 | 
				 | 
				 | 
				 | 
				 | 
				 | 
				 | 
				 | 
				 | 
Adapted from HCM Exhibit 20‑11.
Rural One-Lane Capacity
These highways, though rare, do exist in HPMS. They include facilities with both one-way and two-way operation.
One-Way Operation
The capacity of these sections should be computed using the procedure for Rural Two-Lane Highways, with the following changes:
Change the base capacity from 3,200 pch to 1,600 pch
Compute the one-way flow rate using the same equation as for two-way flow rate; enter all lookup tables and equations labeled for two-way flow rate with this value.
Assume 100% no passing zones.
The resulting capacity is, by definition, a one-way value.
Two-Way Operation
One-lane highways open to both directions of traffic are extremely rare. For these cases, compute the capacity for one-way operation and divide by 2.
Rural Three-Lane Highway Capacity
These highways have two through lanes in one direction and a single lane in the opposite direction. The through lanes are assumed to cover an extended length and are not auxiliary or truck climbing lanes. (This is consistent with the coding of HPMS data).
It is assumed that these highways operate as a multilane undivided facility in the two-lane direction and as a single direction of a rural two-lane facility in the one-lane direction. The two-way capacity (required by HPMS for these facilities) is then the sum of these two separate capacities.
The capacity for the two-lane direction is computed using the Multilane Highway capacity procedure assuming an undivided cross-section. The capacity for the one-lane direction is computed using the procedure for Rural One-Lane, One-Way Highways.
Signalized Intersection Capacity
Sections that meet the criteria in the hierarchy for signalized intersection density (> .5 /mile) are analyzed using this procedure. For both rural and urban section where Left Turning Lanes (Data Item 88) and Right Turning Lanes (Data Item 89) are missing, a simplified procedure is used (see page N-23). Data Items 88 and 89 are used to identify lane groups, a critical step in the signalized intersection capacity procedure.
Typical Percent Green Time (Data Item 91) and Peak Parking (Data Item 61) are considered optional for the coding of rural sections. However, default values for these data are provided so that if Data Items 88 and 89 are present, the urban procedure may be used.
Signalized Intersection Approach Capacity
For HPMS, the capacity of the entire approach is required, including all movements, primarily for consistency with the speed/delay procedures. Intersection approach capacity is based on HCM Equation 16‑6:
		 (20)
												(20)
where:
CA = intersection approach capacity
	 
	 
= effective green ratio for lane group i
This approach is based directly on the HCM 2000 principles. When operational analysis is conducted using capacity computed in this way, the HCM 2000 method takes into account the volumes assigned to each lane group. In HPMS, turning movement volumes are not available; only total intersection approach volume is computed from AADT. Therefore, the volume-to-service flow ratio for HPMS is computed using the total intersection approach capacity and volume, rather than considering the operational characteristics of each lane group individually. The HPMS method therefore assumes that traffic is distributed roughly proportionate to the available lane group capacity (i.e., lane groups are neither under-utilized nor over-utilized). While it is possible that this may result in an overestimation of capacity in some instances, there is currently no basis upon which a realistic adjustment can be made. Further, because lane groups are based on the existence of exclusive turning lanes, there is no reason to suspect some lane groups are underutilized at the expense of others; turning lanes are implemented to handle high turning volumes.
Determining Lane Groups
The HCM 2000 methodology for signalized intersections is based on determining capacity for individual lane groups. Lane groups take into account intersection geometry and turning movements. Separate lane groups should be identified for:
Continuous LT lane or 1 + exclusive LT lanes – LT only lane group
Continuous RT lane or 1 + exclusive RT lanes – RT only lane group
In addition to possible exclusive turning lane groups, it is always assumed that through movements occur at the intersection. This assumption does not account for T‑intersections, but no intersection geometry data exist in HPMS that would allow this determination. The maximum number of lane groups for HPMS purposes is three. Table 9 is used in developing lane groups, based on the coding of left and right turning lanes.
Table 9. Determining Lane Groups in HPMS
| Data Item 88 | Data Item 89 | No. Peak Lanes | Lane Groups | No. Lanes in Group | 
| 1 | 1 | N/A | Exclusive LT Exclusive Through Exclusive RT | 2 N 2 | 
| 2, 3 | Exclusive LT Exclusive Through Exclusive RT | 2 N 1 | ||
| 4 | 1, 2 | Exclusive LT Shared Through/RT | 2 N | |
| 3+ | Exclusive LT Exclusive Through Shared Through/RT | 2 N- 1 1 | ||
| 5 | N/A | Exclusive LT Exclusive Through | 2 N | |
| 2,3 | 1 | N/A | Exclusive LT Exclusive Through Exclusive RT | 1 N 2 | 
| 2, 3 | Exclusive LT Exclusive Through Exclusive RT | 1 N 1 | ||
| 4 | 1, 2 | Exclusive LT Shared Through/RT | 1 N | |
| 3+ | Exclusive LT Exclusive Through Shared Through/RT | 1 N- 1 1 | ||
| 5 | N/A | Exclusive LT Exclusive Through | 1 N | |
| 4 | 1 | 1, 2 | Shared LT/Through Exclusive RT | Data Item 87 2 | 
| 3+ | Shared LT/Through Exclusive Through Exclusive RT | 1 N– 1 2 | ||
| 2, 3 | 1, 2 | Shared LT/Through Exclusive RT | N 1 | |
| 3+ | Shared LT/Through Exclusive Through Exclusive RT | 1 N– 1 1 | ||
| 4 | 1, 2 | Shared LT/Through/RT | N | |
| 3+ | Shared LT/Through Exclusive Through Shared RT/Through | 1 N– 2 1 | ||
| 5 | 1, 2 | Shared LT/Through | N | |
| 3+ | Shared LT/Through Exclusive Through | 1 N– 1 
 
 | ||
| 5 | 1 | N/A | Exclusive Through Exclusive RT | N 2 | 
| 2, 3 | N/A | Exclusive Through Exclusive RT | N 1 | |
| 4 | 1, 2 | Shared RT/Through | N | |
| 3+ | Shared RT/Through Exclusive Through | 1 N– 1 | ||
| 5 | N/A | Exclusive Through | N | 
Where: N = Data Item 87
Determining Saturation Flow Rate
A slightly modified version of HCM Equation 16‑4 is used to determine saturation flow rate:
 (21)
						(21)
where:
	 saturation
flow rate for subject lane group, expressed as a total for all lanes
in lane group (vph);
				saturation
flow rate for subject lane group, expressed as a total for all lanes
in lane group (vph);
	 base
saturation flow rate per lane (pcphpl);
			base
saturation flow rate per lane (pcphpl);
	 number
of lanes in lane group;
			number
of lanes in lane group;
	 adjustment
factor for lane width;
			adjustment
factor for lane width;
	 adjustment
factor for heavy vehicles in traffic stream;
		adjustment
factor for heavy vehicles in traffic stream;
	 adjustment
factor for approach grade;
		adjustment
factor for approach grade;
	 adjustment
factor for existence of a parking lane and parking activity adjacent
to lane group;
		adjustment
factor for existence of a parking lane and parking activity adjacent
to lane group;
	 adjustment
factor for blocking effect of local buses that stop within
intersection area;
		adjustment
factor for blocking effect of local buses that stop within
intersection area;
	 adjustment
factor for area type;
		adjustment
factor for area type;
	 adjustment
factor for lane utilization;
		adjustment
factor for lane utilization;
	 adjustment
factor for left turns in lane group;
		adjustment
factor for left turns in lane group;
	 adjustment
factor for right turns in lane group;
		adjustment
factor for right turns in lane group;
	 pedestrian-bicycle
adjustment factor for left-turn movements;
		pedestrian-bicycle
adjustment factor for left-turn movements;
	 pedestrian-bicycle
adjustment factor for right-turn movements; and
		pedestrian-bicycle
adjustment factor for right-turn movements; and
	 Peak
Hour Factor.
		Peak
Hour Factor.
Note that the Peak Hour Factor is included in the calculation of saturation flow rate. The HCM 2000 adjusts volume with this factor, but for HPMS purposes, it is used to adjust saturation flow rate.
Base Saturation Flow Rate, SO
The base saturation flow rate is set at 1,900 pcphpl.
Adjustment Factor for Lane Width, fW
The lane width adjustment factor is based directly on the HCM 2000 procedure:
 (22)
													(22)
where:
 (Data
Item 54); minimum of 8, maximum of 16
(Data
Item 54); minimum of 8, maximum of 16
Adjustment for Heavy Vehicles, fHV
The heavy vehicle adjustment factor is based directly on the HCM 2000 procedure, assuming 2 passenger car equivalents for heavy vehicles:
 (23)
											(23)
where:
HV = percent heavy vehicles
ET = 2.0 passenger car equivalents
The percent heavy vehicles factor is the sum of peak combination and single unit trucks (Data Items 81 and 83).
Adjustment for Grade, fg
For HPMS purposes, fg is set to 1.0 because of the lack of grade information on urban minor arterials and collectors.
Adjustment for Parking, fp
The calculation of the parking adjustment factor is:
 (24)
												(24)
where:
fp = parking adjustment factor
N = number of lanes in group
Nm = number of parking maneuvers per hour
= 6 for two-way streets with parking one side
= 12 for two-way streets with parking both sides or one-way streets with parking one side
= 24 for one-way streets with parking on both sides (based on HCM Exhibit 10-20).
The parking factor is applied only to lane groups that are immediately adjacent to parking spaces. For two-way streets or one-way streets with parking on one side, this is assumed to occur in the right-most lane group; this will be either an exclusive right-turn lane or a lane with shared movements. For one-way streets with parking on both sides, the parking factor adjustment is made for the left-most and the right-most lane groups.
When parking is not allowed or unavailable (Data Item 61 = 3), fp is set to 1.0. It is also set to 1.0 if Data Item 61 = 0.
Adjustment for Bus Blockage, fbb
For HPMS, fbb is set to 1.0. No data exist in HPMS as to the occurrence of bus routes. Further, the default values in the HCM 2000 for bus maneuvers lead to adjustment factors close to 1.0.
Type of Area Adjustment, fa
Area type is no longer coded in HPMS. An analysis of 1998 HPMS showed that 9 percent of urban signalized intersections were located in CBDs. The HCM 2000 indicates that fa should be 0.9 in CBDs, 1.0 elsewhere. Weighting these values with the findings from the 1998 HPMS data provides a value of 0.991 for fa for urban conditions. A value of 1.0 is used for rural conditions.
Lane Utilization Adjustment, fLU
The HCM 2000 states that: “As demand approaches capacity, the analyst may use lane utilization factors [close] to 1.0, which would indicate a more uniform use of the available lanes and less opportunity for drivers to freely select their lane” (HCM page 10‑26). Because the purpose of this factor in HPMS is to estimate capacity rather than perform an analysis of an individual intersection, a lane utilization adjustment factor of 1.0 is used. This will avoid underestimating capacity in investment analysis where demand volumes are forecast for a long time horizon (usually 20 years).
Adjustment for Left Turns, fLT
Left turns are a major determinant of intersection approach capacity, yet only limited data are available in HPMS for conducting capacity analyses. The HCM 2000 identifies six cases, as shown in Table 10. The adjustment factor for left turns is applied only if left turns are made from the lane group; this determination is made by checking the coding of Data Item 88, also as shown in Table 10.
Table 10. HCM 2000 Left Turn Adjustment Cases as Applied to HPMS
| LT Adjustment Case | Data Item 88 | Functional Class | fLT | 
| 
 | 1, 2, 3 | All Arterials; Rural Major Collectors | 
					 | 
| 
					 
 | 
					 1, 2, 3 | 
					 Rural Minor Collectors; Urban Collectors | 
					 (see below) | 
| 
 | N/A | N/A | N/A | 
| 
 | 4 | Principal Arterials | 
					 (PLT = 0.10) | 
| 
 | 4 | Minor Arterials; All Collectors | (see below) | 
| 
 | N/A | N/A | N/A | 
A major assumption here is that the phasing is determined by functional class; higher order facilities are assumed to have protected phasing.
Note that Protected/Permitted Phasing is assumed to not exist because of lack of information on signal phasing in HPMS. For Case 4, PLT is the proportion of left turns in the lane group. As recommended in the HCM 2000, a default value of 10 percent is used for HPMS (HCM page 10‑19).
If left turns are not made from the lane group, the left turn adjustment factor is set to 1.0.
Special Procedure for Permissive Left Turns
The permissive left turn procedure in the HCM 2000 is highly complex and dependent on many variables not present in the HPMS data (Appendix C, HCM Chapter 16). The new procedure is substantially more complex than those in previous versions of the HCM. For HPMS purposes, the procedure from the 1994 edition of the HCM is used because it is more compatible with the available data in HPMS:
fLT = (1400–Vo)/[(1400–Vo)+(235+0.435*Vo)*PLT] for Vo <= 1,220 vph (25)
= 1/(1+(4.525*PLT)) for Vo >1,220 vph
Where: Vo = AADT * K * (1 – D); this is the opposing flow in the off peak direction
AADT = annual average daily traffic, (Data Item 33)
K = K-factor, (Data Item 85) expressed as a decimal
D = the directional factor for the peak direction, (Data Item 86) expressed as a decimal
PLT = proportion of left turns; assume proportion of left turns is 10 percent
Adjustment for Right Turns, fRT
The adjustment factor for right turns is applied only if right turns are made from the lane group. The right turn adjustment factor is based on the coding of HPMS Data Item 89 as follows:
fRT = 0.85 (for Data Item 89 = 1, 2, or 3) (26)
= 1.0 – 0.15PRT (for Data Item 89 = 4)
where:
 
If right turns are not made from the lane group, the right turn adjustment factor is set to 1.0.
Adjustment for Pedestrian-Bicycle Blockage on Left Turns, fLpb
As with permissive left turns, calculation of the adjustment factor for pedestrians and bicycles is complex and requires extensive inputs, most of which are unavailable in HPMS. Further, pedestrian/bicycle blockage is likely to have a major impact only in densely developed areas and these conditions can no longer be determined from HPMS data. Therefore, for the purpose of HPMS, fLpb is set to 1.0.
Adjustment for Pedestrian-Bicycle Blockage on Right-Turns, fRpb
Based on the same conditions as for pedestrian-bicycle blockage on left turns, fRpb is set to 1.0.
Peak Hour Factor (PHF)
As discussed on HCM page 10‑8, a default value of 0.92 is used for the PHF for urban sections. For rural sections, the PHF is set to 0.88.
Effective Green Ratios (gi/C) for Lane Groups
The following values are used for the various types of lane groups. They are based on the coded value for HPMS Data Item 91 (Typical Peak Percent Green Time), which applies to the through movement only. For all lane groups except for exclusive left turn lane groups, the value for Data Item 91 is used for gi/C. (This assumes that an exclusive signal phase for right turns coincides with the through movement phase.) For Exclusive Left Turn Lane Groups, the green ratio is a function of the green ratio for the through movement (Data Item 91). A distinction is made for low and high values for through green ratio:
For g/C <= 0.65
gLT /C = 0.35*g/C for principal arterials (27)
= 0.25*g/C for all other highway types
For g/C > 0.65
gLT /C = 0.5*(1 - g/C) (all highways) (28)
where: g/C = green ratio for through movement (Data Item 91).
If Data Item 91 is missing, g/C default values of 0.45 for arterials and 0.40 for collectors are used (NCHRP 387, Table 9-3).
Simplified Procedure For Rural Signalized Intersection Capacity And Urban Sections With Missing Data
In the coding of HPMS data, several data items required for applying the urban signalized capacity analysis are either “optional” or not required for rural sections. The data items of interest for capacity calculations, since they are used to identify lane groups, are:
Data Item 88: Left Turning Lanes
Data Item 89: Right Turning Lanes.
Although some states do code these items for rural sections, a provision must be made to handle cases where the data are not present; this could also be true for some urban sections. In the cases where rural signalized sections have nonzero values coded for these data items, the signalized intersection capacity is used. When these data are coded as zero, the following procedure is used:
CA = 1,900 * N * fw * fHV * PHF * g/C (29)
where:
CA = intersection approach capacity
N = number of lanes on the segment (one direction)
= Data Item 87 (Number of Peak Lanes)
fw = adjustment factor for lane width (use Equation 22)
fHV = adjustment factor for heavy vehicles (use Equation 23)
PHF = Peak Hour Factor
= 0.88 for rural conditions, 0.92 for urban conditions
g/C = effective green time-to-cycle length ratio
= 0.55 for principal arterials
= 0.45 for minor arterials
= 0.40 for collectors
The g/C ratio default values given above attempt to account for, in a general way, the presence of exclusive turn lanes and phases. These values are higher than the default values listed in Table 9-3 of NCHRP 387 (0.40-0.45) but those values consider only through movement capacity.
Stop Sign-Controlled Highway Capacity
All highways that have at least one stop sign and meet the density requirement (> .5/mile) on the inventory route.
The HCM 2000 procedure for stop sign-controlled intersections is complex and highly dependent on turning movements on all the approaches. Procedures also vary for two-way controlled intersections versus all-way controlled intersections. None of these data are present in HPMS. Therefore, a highly simplified method is recommended. It is based on the HCM 2000 procedure for two-way controlled intersections. This is the simpler and less data intensive of the two methods.
The procedure is based on first calculating the potential capacity for each turning movement. (It is assumed that the potential capacity is equal to the “movement capacity”, and none of the HCM 2000 procedures for converting potential capacity to movement capacity are used.) Where shared lanes exist for turning movements, an extra calculation is required to derive the potential (movement) capacity of the shared lane. This step combines the potential capacities for two or three turning movements (depending on the lane configuration) into a single potential capacity. The final capacity of the stop sign-controlled approach is then the sum of all the potential capacities calculated for the turning movements.
Step 1: Calculate Potential Capacity of Each Turning Movement
The procedure starts with HCM Equation 17-3. It first calculates the potential capacity for each of the movements on the stop sign-controlled approach:
			 (30)
											(30)
Where:
Cp,x = potential capacity of movement x (vph)
CVc,x = conflicting flow rate for each movement x (vph); Table 12
tc,x = critical gap (seconds) for each movement x
= tc,base + ( PHV * tc,HV)
tc,base = default values from Table 11
tc,HV = 1.0 for one or two-through lane roads (Data Item 34 <= 2)
= 2.0 otherwise
PHV = percent of heavy vehicles in traffic stream, peak period, expressed as a decimal
tf,x = follow-up time (seconds) for each movement x
= tf,base + ( PHV * tf,HV)
tf,HV = 0.9 for one or two-through lane roads (Data Item 34 <= 2)
= 1.0 otherwise
Table 11. Default Values for Calculating Potential Capacities (Cp,x) of Stop Sign-Controlled Highways
| Vehicle Movement (x) | Base Critical Gap, tc,base | Follow-up Time, tf,base | 
| Right Turns | 6.2 | 3.3 | 
| Through | 6.5 | 4.0 | 
| Left Turns | 7.1 | 3.5 | 
Table 12. Default Values for Conflicting Flow Rates
| 
				 Functional Class | Conflicting Flow Rate, CVc,x | 
| Rural Principal Arterials | 100 | 
| Rural Minor Arterials | 150 | 
| Other Rural | 200 | 
| Urban Principal Arterials | 250 | 
| Urban Minor Arterials | 500 | 
| Other Urban | 750 | 
Clearly, the major assumption in this Step is that of the conflicting volumes. Basically, it is assumed that the intersection is composed of a higher class facility in one direction and a lower class facility in the other. Many stop sign-controlled intersections, particularly those with all-way control, are comprised of similar class facilities intersecting. However, without detailed knowledge of such occurrences, the assumption is a reasonable default.
Step 2: Determine Approach Capacity
Several adjustments to potential capacity are defined in the HCM 2000 in order to derive “movement capacity”. Most of the adjustments are based on knowledge of turning movements on and the geometry of all approaches of the intersection. Since none of these data are available in HPMS, major assumptions would be required. As an alternative, the movement capacity is set equal to potential capacity for most cases, except for shared lanes. The adjustment for shared-lane capacity is essential for calculating intersection approach capacity. HCM Equation 17-15 is used in these cases:
				 (31)
												(31)
Where:
Cp,SH = potential capacity of the shared lane (vph)
Vx = flow rate of the x movement in the shared lane (vph)
Cp,x = potential capacity of the x movement in the shared lane (vph) from Equation 1.
Volumes for the turning movements on the intersection approach in question must be made in order to apply Equation 30. It is assumed that 10 percent of the approach volume is composed of left-turning vehicles and 10 percent composed of right turning vehicles (recommended defaults from Chapter 10 of HCM 2000). Total approach volume is calculated as:
Approach Volume = AADT * (K * 0.01) * (D * 0.01) (32)
Where:
AADT = Data Item 33
K = Data Item 85
D = Data Item 86
= MIN(70, Data Item 86)
Values for Vx are then computed for left turns, through movements and right turns by applying the assumed turning percentages to the approach volume: 10%, 80%, and 10%, respectively.
The number of lanes handling turning movements on the approach are then determined. This is based on Data Items 88 and 89 (Left and Right Turning Lanes) for urban sections and for rural sections where these data are coded. Table 3 shows how to handle each of the possible cases. The approach capacity is based on Equation 30 for nonshared lanes and Equation 31 for shared lanes. In some cases both terms are used. Note that CA is adjusted to account for the number of lanes handling each movement. Where HPMS indicates “multiple” turning lanes, it is assumed that two such lanes exist. For rural sections – or for any sections where Data Items 88 and 89 are coded as zero – it is assumed that no exclusive left turn or right turn lanes exist.
Table 13. Determining Stop Sign-Controlled Intersection Approach Capacity (CA)
| Left Turning Bay/Lanes Coding (Data Item 88) | Right Turning Bay/Lanes Coding (Data Item 89) | Approach Capacity Calculation, CA (vph) | 
| 
				 | 0, 4 | All movements made from a shared lane; CA = NTCp,SH | 
| 0, 4 | 1, 2, 3 | Shared LT + T lane; exclusive RT lane; CA = NT C p,SH(LT+T) + NRTCp,RT | 
| 
				 | 5 | Do not consider right turn volumes; CA = NTC p,SH(LT+T) | 
| 
				 | 0, 4 | Shared RT + T lane; exclusive LT lane CA = NTC p,SH(RT+T) + NLTCp,LT | 
| 1, 2, 3 | 1, 2, 3 | Exclusive lanes for all movements; CA = NLTCp,LT + NTCp,T + NRTCp,RT | 
| 
				 | 5 | Do not consider right turn volumes; CA = NLTCp,LT + NTCp,T | 
| 
				 | 0, 4 | Do not consider left turn volumes CA = NTC p,SH(RT+T) | 
| 5 | 1, 2, 3 | Do not consider left turn volumes CA = NTCp,T + NRTCp,RT | 
| 
				 | 5 | Consider only through volumes CA = NTCp,T | 
Where:
NT = Number of Peak Through Lanes
= 1 for rural highways with 2 through lanes
= 2 for rural highways with 3 through lanes
= Data Item 87 otherwise
NLT = Number of Left Turn Lanes
= 2 if Data Item 88 = 1
= 1 if Data Item 88 = (2,3)
= 0 otherwise
NRT = Number of Right Turn Lanes
= 2 if Data Item 89 = 1
= 1 if Data Item 89 = (2,3)
= 0 otherwise
Cp,SH = potential capacity of the shared lane (vph) from Equation 31 (the terms in parentheses indicate which movements are being handled by the shared lane, e.g., “LT+T” means that left turns and through movements share the lanes
Cp,T = potential capacity (assumed to be the movement capacity from Equation 30) for the through movement
Cp,RT = potential capacity (assumed to be the movement capacity from Equation 30) for the right turn movement
Cp,LT = potential capacity (assumed to be the movement capacity from Equation 30) for the left turn movement
Step 3: Set Peak Capacity to Approach Capacity
For HPMS, the Peak Capacity of the section is then based on the approach capacity of the stop sign-controlled intersection analyzed above. For urban sections, since the HPMS definition of urban capacity is one-way, the Peak Capacity is set equal to the approach capacity. For rural sections, it is based on the total number of through lanes (Data Item 34). This is done to account for the definition of capacity for 2- and 3-lane sections in HPMS, which is two-way capacity.
Rural 4+ through lanes
Peak Capacity = Approach Capacity
Rural 3-through lanes
Peak Capacity = Approach Capacity * 1.67 (assumes that the direction with two lanes is the inventory direction)
Rural 2-through lanes
Peak Capacity = Approach Capacity * 2
Urban One/Two/Three Lane Highway Capacity
These are used on highway sections in urban areas that do not meet the traffic control device density requirement for either signals or stop signs. They can either have one-way or two-way traffic flow, as follows:
One-Way, One-Lane Highways: Data Item 34 = 1 and Data Item 27 = 1;
Two-Way, 2/3-Lane Highways: Data Item 34 = (2 or 3) and Data Item 27 = 2; and
Two-Way, One-Lane Highways: Data Item 34 = 2 and Data Item 27 = 1. This is an unusual occurrence but some states code unstriped highways in this manner. For HPMS, it is assumed that these are in fact two-lane highways. In these cases, lane width is determined as the larger of: (Data Item 54 divided by 2) or seven feet.
Many urban sections in HPMS with 1-3 lanes do not have traffic control devices present on the actual section. However, it is possible that these sections are influenced by traffic control devices upstream and downstream of the section. One approach to capacity estimation for these sections is to assume that the capacity is controlled by “off-section” traffic control devices, probably signals. This approach would use the simplified procedure for calculating signalized intersection capacity since the data required for the detailed procedure are lacking. The other approach is to assume that capacity is strictly a function of the section’s characteristics, not off-section traffic control devices. Three reasons exist for using the latter assumption. First, it is consistent with the HPMS philosophy of using the coded data to the maximum extent possible. Second, states can provide capacity estimates directly if off-section traffic control devices exert a major influence on the section’s capacity. Third, even if off-section traffic control devices exist, the spacing of these may be large enough that they don’t affect the section’s capacity. For these reasons, it assumed that these sections are not under the influence of traffic control devices.
The recommended procedure is based on the adjusted saturation flow rate step from the Signalized Intersection procedure:
			 (33)
										(33)
where:
so = base saturation flow rate per lane (pcphpl);
N = number of peak lanes (Data Item 87);
fw = adjustment factor for lane width;
fHV = adjustment factor for heavy vehicles in traffic stream;
fp = adjustment factor for existence of parking activity;
fa = adjustment factor for area type;
PFH = Peak Hour Factor.
Base Saturation Flow Rate, SO
The base saturation flow rate is set at 1,900 pcphpl.
Adjustment Factor for Lane Width, fW
The lane width adjustment factor is based directly on the HCM 2000 procedure:
			 (34)
												(34)
where:
W = Lane Width (Data Item 54); minimum of 8, maximum of 16
Adjustment for Heavy Vehicles, fHV
The heavy vehicle adjustment factor is based directly on the HCM 2000 procedure, assuming 2 passenger car equivalents for heavy vehicles:
			 (35)
										(35)
where:
HV = percent heavy vehicles
ET = 2.0 passenger car equivalents
The percent heavy vehicles factor is the sum of peak combination and single unit trucks (Data Items 81 and 83).
Adjustment for Parking, fp
The calculation of the parking adjustment factor is:
			 (36)
											(36)
where:
fp = parking adjustment factor
N = number of lanes in lane group
Nm = number of parking maneuvers per hour
= 6 for two-way streets for parking on one side
= 12 for two-way streets with parking on both sides or one-way streets with parking on one side
= 24 for one-way streets with parking on both sides (based on HCM Exhibit 10 - 20)
When parking is not allowed or unavailable (Data Item 61 = 3), fp is set to 1.0. It is also set to 1.0 if Data Item 61 = 0.
Adjustment for Area Type
Area type is no longer coded in HPMS. An analysis of 1998 HPMS showed that 9 percent of urban signalized intersections were located in CBDs. The HCM 2000 indicates that fa should be 0.9 in CBDs, 1.0 elsewhere. Weighting these values with the findings from the 1998 HPMS data provides a value of 0.991 for fa for urban conditions.
Peak Hour Factor
As discussed on HCM page 10‑8, a default value of 0.92 is used for the PHF for urban sections.
HPMS Data Items Used in Capacity Calculations
| 
				 Item Number | 
				 Description | 
				 Item Number | 
				 Description | 
| 
				 17 | 
				 Functional System | 
				 80 | 
				 Speed Limit | 
| 
				 27 | 
				 Type of Facility | 
				 81 | 
				 Percent Peak Single Unit Trucks | 
| 
				 30 | 
				 Section Length | 
				 82 | 
				 Percent Average Daily Single Unit Trucks | 
| 
				 33 | 
				 AADT | 
				 83 | 
				 Percent Peak Combination Trucks | 
| 
				 34 | 
				 Number of Through Lanes | 
				 84 | 
				 Percent Average Daily Combination Trucks 
				 
 | 
| 
				 54 | 
				 Lane Width | 
				 85 | 
				 K Factor | 
| 
				 55 | 
				 Access Control | 
				 86 | 
				 Directional Factor | 
| 
				 56 | 
				 Median Type | 
				 87 | 
				 Number of Peak Lanes | 
| 
				 57 | 
				 Median Width | 
				 88 | 
				 Left Turning Lanes | 
| 
				 59 | 
				 Right Shoulder Width | 
				 89 | 
				 Right Turning Lanes | 
| 
				 60 | 
				 Left Shoulder Width | 
				 91 | 
				 Typical Peak Percent Green Time | 
| 
				 61 | 
				 Peak Parking | 
				 92 | 
				 Number At-Grade Intersections - Signals | 
| 
				 70 | 
				 Type of Terrain | 
				 93 | 
				 Number At-Grade Intersections - Stop Signs | 
| 
				 78 | 
				 Percent Passing Sight Distance - Rural | 
				 94 
 | 
				 Number At-Grade Intersections - Other /No Control | 
Volume/Service Flow Ratio (V/SF)
The volume-to-service flow (capacity) ratio is determined for each paved rural sample section and all urban sample sections. It is used as a measurement for congestion. The equations to determine the volume-to-service flow ratio are by type of facility. V/SF is not calculated for a sample section that is entirely on a structure (HPMS, Item 27 = 3,4).
Rural two- or three-lane facility:
V/SF = (AADT (HPMS, Item 33) * K-factor (HPMS, Item 85)) / Peak Capacity
(HPMS, Item 95)
Rural Multilane and All Urban facilities:
V/SF = (AADT (HPMS, Item 33) * K-Factor (HPMS, Item 85) * Directional Factor
(HPMS, Item 86)) / Peak Capacity (HPMS, Item 95)
HPMS Data Items Used in V/SF Ratio
| 
								 Item Number | 
								 Description | 
| 
								 33 | 
								 AADT | 
| 
								 85 | 
								 K-Factor | 
| 
								 86 | 
								 Directional Factor | 
| 
								 95 | 
								 Peak Capacity | 
1 Two-Way Left Turning Lanes.
	
	
	 
		N-
	
| File Type | application/msword | 
| File Title | CHAPTER I | 
| Author | Battelle | 
| Last Modified By | bgross | 
| File Modified | 2002-04-04 | 
| File Created | 2002-04-04 |